Скачать СТО НОСТРОЙ 2.17.66-2012 Освоение подземного пространства. Коллекторы и тоннели канализационные. Требования к проектированию, строительству, контролю качества и приемке работДата актуализации: 01.01.2021 СТО НОСТРОЙ 2.17.66-2012
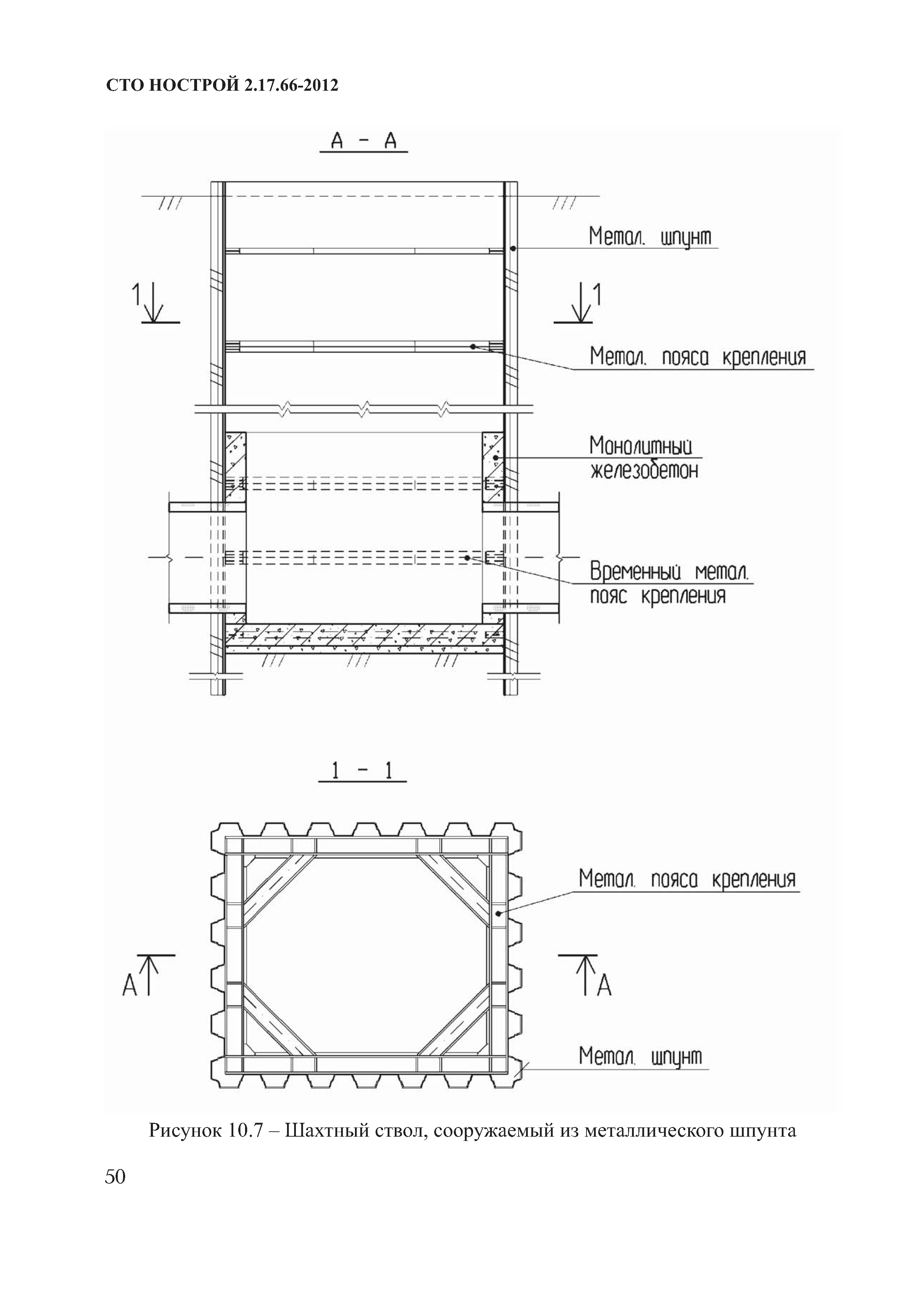
Освоение подземного пространства. Коллекторы и тоннели канализационные. Требования к проектированию, строительству, контролю качества и приемке работ| Обозначение: | СТО НОСТРОЙ 2.17.66-2012 | | Обозначение англ: | 2.17.66-2012 | | Статус: | введен впервые | | Название рус.: | Освоение подземного пространства. Коллекторы и тоннели канализационные. Требования к проектированию, строительству, контролю качества и приемке работ | | Название англ.: | Development of underground space. Sewage collectors and tunnels. Design, construction, quality control and acceptance of work requirements | | Дата добавления в базу: | 01.10.2014 | | Дата актуализации: | 01.01.2021 | | Область применения: | Cтандарт распространяется на канализационные коллекторы и тоннели, сооружаемые закрытым способом, для отвода бытовых, дождевых и общесплавных сточных вод на территории городских и сельских поселений и устанавливает требования к инженерным изысканиям, проектированию, строительству, контролю качества и приемке работ. Положения разделв 4- 9, подраздела 10.1 являются рекомендуемыми | | Оглавление: | Введение 1 Область применения 2 Нормативные ссылки 3 Термины и определения 4 Общие положения 5 Инженерные изыскания 5.1 Инженерно-геодезические изыскания 5.2 Инженерно-геологические изыскания 5.3 Инженерно-экологические изыскания 6 Проектирование 6.1 Общие положения проектирования 6.2 Расчетные расходы и гидравлический расчет 6.3 Нагрузки и основные расчетные положения 6.4 План и продольный профиль 6.5 Строительные конструкции 6.6 Камеры на коллекторах и тоннелях 7 Геотехнический прогноз 8 Геотехнический мониторинг 9 Мероприятия по охране окружающей среды 10 Выполнение строительно-монтажных работ 10.1 Общие требования к выполнению работ 10.2 Проходка шахтных стволов 10.3 Закрытый способ работ по строительству канализационных коллекторов и тоннелей 11 Контроль выполнения и сдача работ 11.1 Общие требования к контролю 11.2 Входной контроль 11.3 Операционный контроль 11.4 Приемо-сдаточный контроль Приложение А (рекомендуемое). Определение нагрузок от горного давления при расчетах тоннельных обделок Приложение Б (рекомендуемое). Определение усилий продавливания труб при микротоннелировании Приложение В (справочное). Параметры железобетонных и стеклопластиковых труб для микротоннелирования Приложение Г (справочное). Конструкции канализационного тоннеля со сборной обделкой из железобетонных блоков высокой точности изготовления Приложение Д (справочное). Программное обеспечение Приложение Е (справочное). Контролируемые параметры геотехнического мониторинга. Прогноз продолжительности осадок поверхности грунта над тоннелем Приложение Ж (рекомендуемое). Состав отчетной документации геотехнического мониторинга Приложение И (обязательное). Гидравлические испытания на герметичность коллекторов и тоннелей Библиография | | Разработан: | НИИОСП им. Герсеванова Госстроя России ОАО Мосинжпроект
| | Утверждён: | 25.05.2012 Совет Национального объединения строителей (29)
| | Принят: | 18.05.2012 Национальное объединение проектировщиков (ЮЛ/97)
| | Издан: | Национальное объединение строителей (2012 г. )
| | Список изменений: | | | Нормативные ссылки: |   СН 484-76 «Инструкция по инженерным изысканиям в горных выработках, предназначаемых для размещения объектов народного хозяйства»  СН 322-74 «Указания по производству и приемке работ по строительству в городах и на промышленных предприятиях коллекторных тоннелей, сооружаемых способом щитовой проходки»  СНиП 3.05.04-85* «Наружные сети и сооружения водоснабжения и канализации» Пособие к СП 11-101-95 «Практическое пособие к СП 11-101-95 по разработке раздела "Оценка воздействия на окружающую среду" при обосновании инвестиций в строительство предприятий, зданий и сооружений»  ОНД 86 «Методика расчета концентраций в атмосферном воздухе вредных веществ, содержащихся в выбросах предприятий»  ГОСТ 25100-95 «Грунты. Классификация»  ГОСТ 12730.5-84 «Бетоны. Методы определения водонепроницаемости»  ГОСТ 26633-91 «Бетоны тяжелые и мелкозернистые. Технические условия»  ГОСТ 17.1.1.01-77 «Охрана природы. Гидросфера. Использование и охрана вод. Основные термины и определения»  ГОСТ 25150-82 «Канализация. Термины и определения»  СП 11-104-97 «Инженерно-геодезические изыскания для строительства»  СП 11-105-97 «Инженерно-геологические изыскания для строительства. Часть I. Общие правила производства работ» СН 2.2.4/2.1.8.562-96 «Шум на рабочих местах, в помещениях жилых, общественных зданий и на территории жилой застройки» СН 2.2.4/2.1.8.566-96 «Производственная вибрация, вибрация в помещениях жилых и общественных зданий» ВСН 130-92 «Правила производства и приемки работ по герметизации стыков и отверстий сборной тоннельной обделки при закрытом способе строительства» ВСН 132-92 «Правила производства и приемки работ по нагнетанию растворов за тоннельную обделку»  ГОСТ 17.4.3.01-83 «Охрана природы. Почвы. Общие требования к отбору проб»  СП 40-102-2000 «Проектирование и монтаж трубопроводов систем водоснабжения и канализации из полимерных материалов. Общие требования»  СП 11-105-97 «Инженерно-геологические изыскания для строительства. Часть II. Правила производства работ в районах развития опасных геологических и инженерно-геологических процессов»  СП 40-105-2001 «Проектирование и монтаж подземных трубопроводов канализации из стеклопластиковых труб»  ГОСТ 19912-2001 «Грунты. Методы полевых испытаний статическим и динамическим зондированием»  ГОСТ 16338-85 «Полиэтилен низкого давления. Технические условия»  Федеральный закон 7-ФЗ «Об охране окружающей среды»  ПБ 03-428-02 «Правила безопасности при строительстве подземных сооружений» «Положение об оценке воздействия намечаемой хозяйственной и иной деятельности на окружающую среду в Российской Федерации»  Федеральный закон 184-ФЗ «О техническом регулировании»  СанПиН 2.1.7.1287-03 «Санитарно-эпидемиологические требования к качеству почвы»  ГОСТ 12020-72 «Пластмассы. Методы определения стойкости к действию химических сред» ГОСТ 19185-73 «Гидротехника. Основные понятия. Термины и определения» СП 2.1.7.1386-03 «Определение класса опасности токсичных отходов производства и потребления»  СП 52-101-2003 «Бетонные и железобетонные конструкции без предварительного напряжения арматуры»  ГОСТ 13015-2003 «Изделия железобетонные и бетонные для строительства. Общие технические требования. Правила приемки, маркировки, транспортирования и хранения»  СП 32-105-2004 «Метрополитены»  ГОСТ 12.1.012-2004 «Система стандартов безопасности труда. Вибрационная безопасность. Общие требования»  Кодекс «Градостроительный кодекс Российской Федерации»  СП 52-104-2006* «Сталефибробетонные конструкции»  РД 11-05-2007 «Порядок ведения общего и (или) специального журнала учета выполнения работ при строительстве, реконструкции, капитальном ремонте объектов капитального строительства»  РД 11-02-2006 «Требования к составу и порядку ведения исполнительной документации при строительстве, реконструкции, капитальном ремонте объектов капитального строительства и требования, предъявляемые к актам освидетельствования работ, конструкций, участков сетей инженерно-технического обеспечения»  РД 07-226-98 «Инструкция по производству геодезическо-маркшейдерских работ при строительстве коммунальных тоннелей и инженерных коммуникаций подземным способом»  «Рекомендации по расчету систем сбора, отведения и очистки поверхностного стока с селитебных территорий, площадок предприятий и определению условий выпуска его в водные объекты»  «Положение о составе разделов проектной документации и требованиях к их содержанию»  Федеральный закон 315-ФЗ «О саморегулируемых организациях» Технический регламент «Технический регламент о безопасности зданий и сооружений» «Правила дорожного движения Российской Федерации»  ГОСТ Р 21.1101-2009 «Система проектной документации для строительства. Основные требования к проектной и рабочей документации»  МДС 11-21.2009 «Методика определения точного местоположения и глубины залегания, а также разрывов подземных коммуникаций (силовых, сигнальных кабелей, трубопроводов газо-, водоснабжения и др.), предотвращающих их повреждения при проведении земляных работ»  ГОСТ Р 53778-2010 «Здания и сооружения. Правила обследования и мониторинга технического состояния. Общие требования»  СП 48.13330.2011 «Организация строительства»  СП 51.13330.2011 «Защита от шума»  СП 14.13330.2011 «Строительство в сейсмических районах»  СП 42.13330.2011 «Градостроительство. Планировка и застройка городских и сельских поселений»  СП 22.13330.2011 «Основания зданий и сооружений»  СП 20.13330.2011 «Нагрузки и воздействия»  СП 35.13330.2011 «Мосты и трубы»  СП 25.13330.2012 «Основания и фундаменты на вечномерзлых грунтах»  СП 63.13330.2012 «Бетонные и железобетонные конструкции. Основные положения»  СП 116.13330.2012 «Инженерная защита территорий, зданий и сооружений от опасных геологических процессов. Основные положения»  СП 28.13330.2012 «Защита строительных конструкций от коррозии»  СП 21.13330.2012 «Здания и сооружения на подрабатываемых территориях и просадочных грунтах»  СП 31.13330.2012 «Водоснабжение. Наружные сети и сооружения»  СТО НОСТРОЙ 2.3.18-2011 «Освоение подземного пространства. Укрепление грунтов инъекционными методами в строительстве» СТО НОСТРОЙ 2.6.54-2011 «Конструкции монолитные бетонные и железобетонные. Технические требования к производству работ, правила и методы контроля»  СТО НОСТРОЙ 2.27.19-2011 «Освоение подземного строительства. Сооружение тоннелей тоннелепроходческими механизированными комплексами с использованием высокоточной обделки»  СП 32.13330.2012 «Канализация. Наружные сети и сооружения»  СП 47.13330.2012 «Инженерные изыскания для строительства. Основные положения»  СП 102.13330.2012 «Туннели гидротехнические»  СП 131.13330.2012 «Строительная климатология»  СП 70.13330.2012 «Несущие и ограждающие конструкции»  СП 11-104-97 «Инженерно-геодезические изыскания для строительства. Часть II. Выполнение съемки подземных коммуникаций при инженерно-геодезических изысканиях для строительства»  ГОСТ 25100-2011 «Грунты. Классификация» Практическое пособие к СП 11-101-95 «Практическое пособие по разработке раздела "Оценка воздействия на окружающую среду" при обосновании инвестиций в строительство предприятий, зданий и сооружений»  СП 11-105-97 «Инженерно-геологические изыскания для строительства. Часть IV. Правила производства работ в районах распространения многолетнемерзлых грунтов»  СНиП 12-03-2001 «Безопасность труда в строительстве. Часть 1. Общие требования»
|
                                                                                                  
Текстовое изменение Поправка от 02.06.2017
|