Скачать Пособие к СНиП 2.09.03-85 Проектирование подпорных стен и стен подваловДата актуализации: 01.01.2021
|
| Обозначение: | Пособие к СНиП 2.09.03-85 |
| Обозначение англ: | SNIP Handbook 2.09.03-85 |
| Статус: | справочные материалы, мп, тпр |
| Название рус.: | Проектирование подпорных стен и стен подвалов |
| Дата добавления в базу: | 01.09.2013 |
| Дата актуализации: | 01.01.2021 |
| Область применения: | Пособие составлено к СНиП 2.09.03-85 "Сооружения промышленных предприятий" и распространяется на проектирование: подпорных стен, возводимых на естественном основании и расположенных на территориях промышленных предприятий, городов, поселков, подъездных и внутриплощадочных железных и автомобильных дорогах; подвалов производственного назначения, как отдельно стоящих, так и встроенных. Пособие не распространяется на проектирование подпорных стен магистральных дорог, гидротехнических сооружений, подпорных стен специального назначения (противооползневых, противообвальных и др.), а также на проектирование подпорных стен, предназначенных для строительства в особых условиях (на вечномерзлых, набухающих, просадочных грунтах, на подрабатываемых территориях и т.д.) |
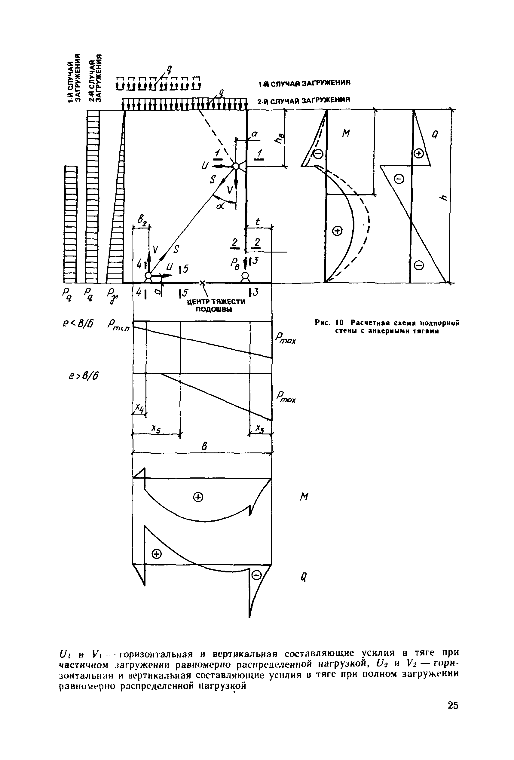
| Оглавление: | Предисловие 1. Общие указания 2. Материалы конструкций 3. Типы подпорных стен 4. Компоновка подвалов 5. Давление грунта 6. Расчет подпорных стен 7. Расчет стен подвалов 8. Расчет подпорных стен и стен подвалов с учетом сейсмических воздействий 9. Расчет подпорных стен и стен подвалов на сдвиг в сложных гидрогеологических условиях 10. Конструктивные требования Приложения |
| Разработан: | ЦНИИпромзданий |
| Утверждён: | ЦНИИпромзданий (TsNIIpromzdaniy ) |
| Издан: | Стройиздат (1990 г. ) |






































































































